Product Summary
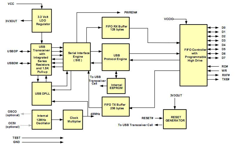
The FT245 is a USB to parallel FIFO interface device which simplifies USB to FIFO designs and reduces external component count by fully integrating an external EEPROM, USB termination resistors and an integrated clock circuit which requires no external crystal, into the device. The FT245 has been designed to operate efficiently with a USB host controller by using as little as possible of the total USB bandwidth available. The applications of the FT245 are Upgrading Legacy Peripherals to USB, Cellular and Cordless Phone USB data transfer cables and interfaces, Interfacing MCU/PLD/FPGA based designs to USB, USB Audio and Low Bandwidth Video data transfer, PDA to USB data transfer, USB Smart Card Readers, USB Instrumentation, USB Industrial Control, USB MP3 Player Interface, USB FLASH Card Reader and Writers, Set Top Box PC-USB interface, USB Digital Camera Interface, USB Hardware Modems, USB Wireless Modems, USB Bar Code Readers, USB Software and Hardware Encryption Dongles.
Parametrics
FT245 absolute maximum ratings: (1)Storage Temperature:-65℃ to 150℃; (2)Floor Life (Out of Bag) At Factory Ambient(30℃/ 60% Relative Humidity):168 Hours(IPC/JEDEC J-STD-033A MSL Level 3 Compliant); (3)Ambient Temperature (Power Applied):-40℃ to 85℃; (4)MTTF:6607685hours ; (5)VCC Supply Voltage:-0.5V to +6.00V ; (6)DC Input Voltage-USBDP and USBDM:-0.5V to +3.8V ; (7)DC Input Voltage-High Impedance Bidirectionals:-0.5V to +(VCC+0.5)V ; (8)DC Input Voltage-All Other Inputs:-0.5V to +(VCC +0.5)V ; (9)DC Output Current-Outputs:24mA; (10)Power Dissipation (Vcc = 5.25V): 500mW.
Features
FT245 features: (1)Single chip USB to parallel FIFO bidirectional data transfer interface; (2)Entire USB protocol handled on the chip. No USB specific firmware programming required; (3)Fully integrated 1024 bit EEPROM storing device descriptors and FIFO I/O configuration ; (4)Fully integrated USB termination resistors; (5)Fully integrated clock generation with no external crystal required; (6)Data transfer rates up to 1Mbyte / second; (7)128 byte receive buffer and 256 byte transmit buffer utilising buffer smoothing technology to allow for high data throughput ; (8)FTDIs royalty-free Virtual Com Port (VCP) and Direct (D2XX) drivers eliminate the requirement for USB driver development in most cases; (9)Unique USB FTDIChip-ID feature; (10)Configurable FIFO interface I/O pins; (11)Synchronous and asynchronous bit bang interface options; (12)True 5V/3.3V/2.8V/1.8V CMOS drive output and TTL input; (13)Configurable I/O pin output drive strength; (14)Integrated power-on-reset circuit; (15)Fully integrated AVCC supply filtering-no external filtering required; (16)Low operating and USB suspend current; (17)Low USB bandwidth consumption; (18)UHCI/OHCI/EHCI host controller compatible; (19)USB 2.0 Full Speed compatible.
Diagrams

| Image | Part No | Mfg | Description | ![]() |
Pricing (USD) |
Quantity | ||||||||||||
|---|---|---|---|---|---|---|---|---|---|---|---|---|---|---|---|---|---|---|
![]() |
![]() FT245BL-REEL |
![]() FTDI |
![]() USB Interface IC USB to Parallel FIFO IC LQFP-32 |
![]() Data Sheet |
![]()
|
|
||||||||||||
![]() |
![]() FT245BM |
![]() FTDI |
![]() FIFO Obsolete See FT245RL |
![]() Data Sheet |
![]() Negotiable |
|
||||||||||||
![]() |
![]() FT245BM-TRAY |
![]() FTDI |
![]() USB Interface IC Obsolete See FT245RL |
![]() Data Sheet |
![]() Negotiable |
|
||||||||||||
![]() |
![]() FT245BQ-REEL |
![]() FTDI |
![]() USB Interface IC USB to Parallel FIFO IC QFN-32 |
![]() Data Sheet |
![]()
|
|
||||||||||||
![]() |
![]() FT245RL-REEL |
![]() FTDI |
![]() USB Interface IC USB to Parallel FIFO Enhanced IC SSOP-28 |
![]() Data Sheet |
![]()
|
|
||||||||||||
![]() |
![]() FT245RQ-REEL |
![]() FTDI |
![]() USB Interface IC USB to Parallel FIFO Enhanced IC QFN-32 |
![]() Data Sheet |
![]()
|
|
||||||||||||
![]() |
![]() FT245R |
![]() Other |
![]() |
![]() Data Sheet |
![]() Negotiable |
|
||||||||||||
![]() |
![]() FT245BQ |
![]() Other |
![]() |
![]() Data Sheet |
![]() Negotiable |
|
||||||||||||
(China (Mainland))










